




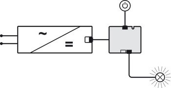
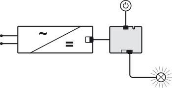
1 Rozbočovač s kabelem

| Barva/povrchová úprava | Černý |
|---|---|
| Materiál | Plast |
| Rozměry (D x Š x V) | 60 x 50 x 16 mm |
| Délka kabelu | 200,00 mm |
| Barevný systém | jednobarevné |
| Vstupy | 1 x zástrčka, Loox5 2pólová 24 V |
| Připojení | 2 x zásuvky, Loox5 2pólová 24 V |
| Funkce spínání | S funkcí spínače |
| Zástrčka pro nízké napětí | Loox5 2pólové 24 V |
| Výkonová kapacita | 120,00 W |
| Napětí | 24,00 V |