









| Barva/povrchová úprava | pozink/chromátováno |
|---|---|
| Rozsah použití | pro únikové dveře v souladu s EN 179/EN 1125 |
| Materiál | Ocel |
| Pro typ dveří | Únikové a panikové dveře |
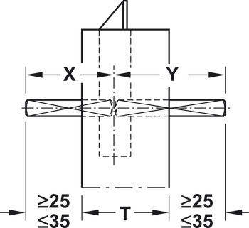
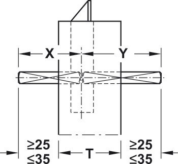
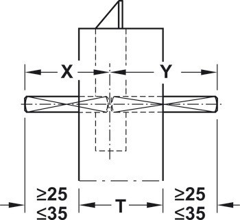
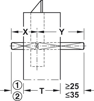
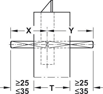
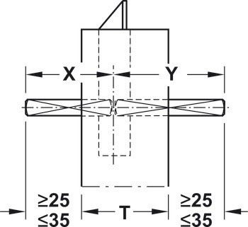
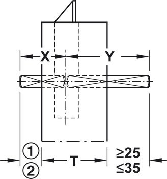
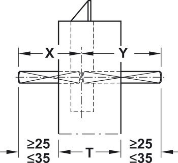
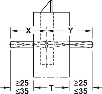
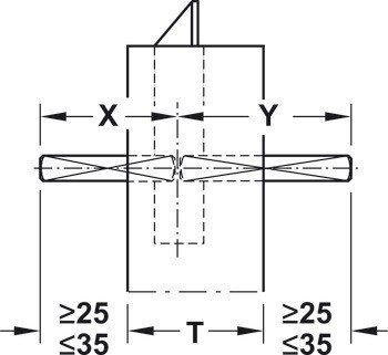
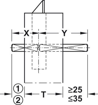
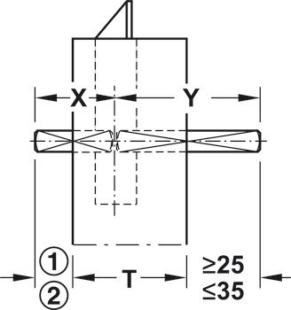
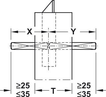
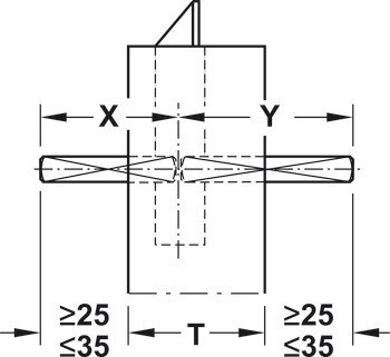
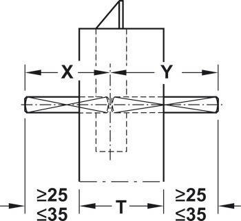
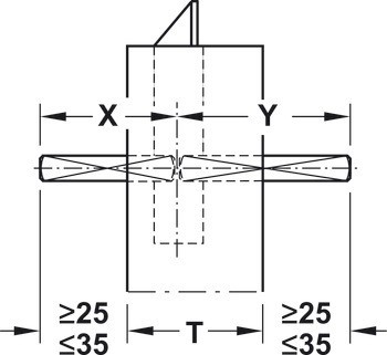
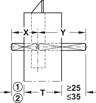
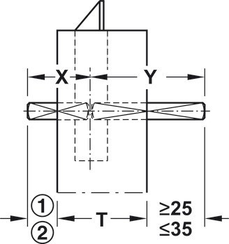
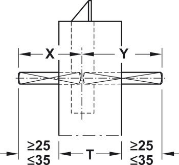
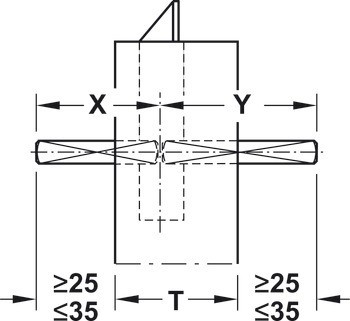
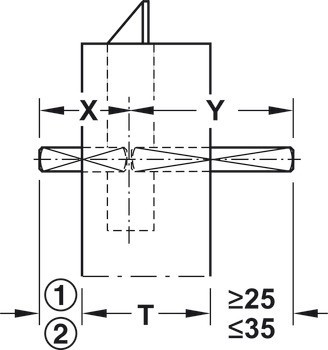
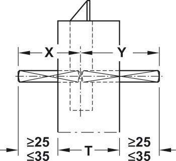
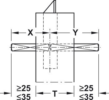
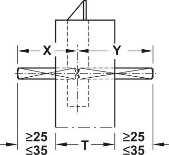
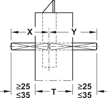
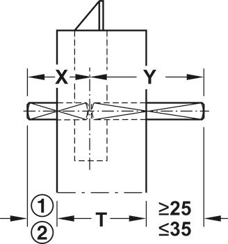
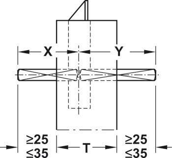
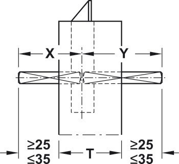
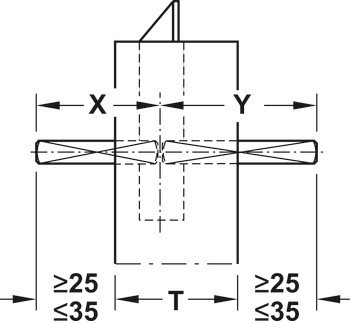
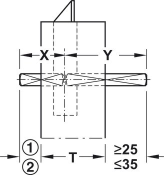
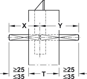
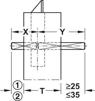
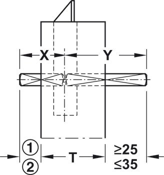
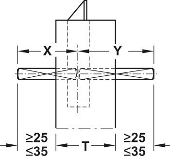
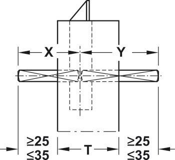
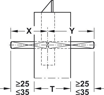
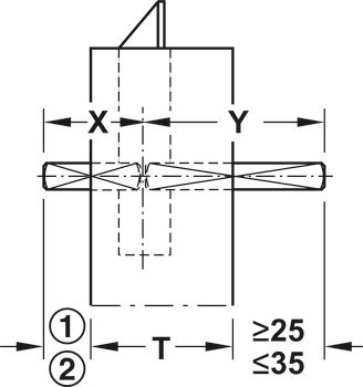
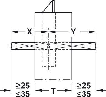
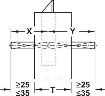
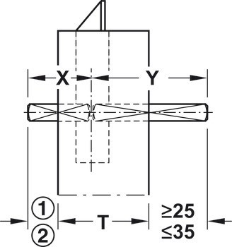
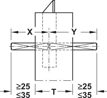
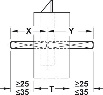
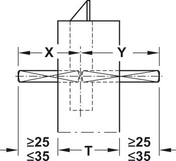
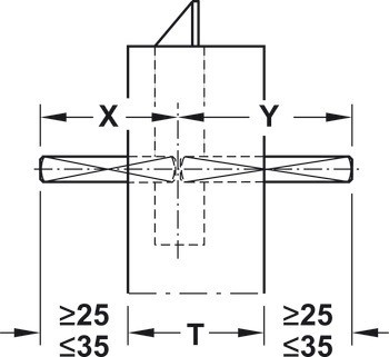
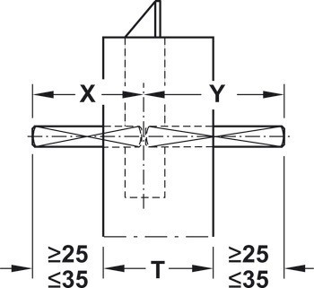
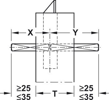
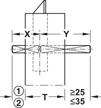
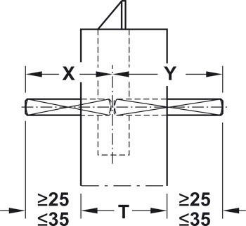
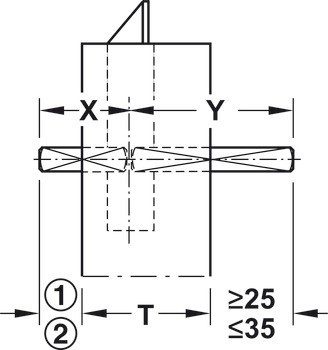
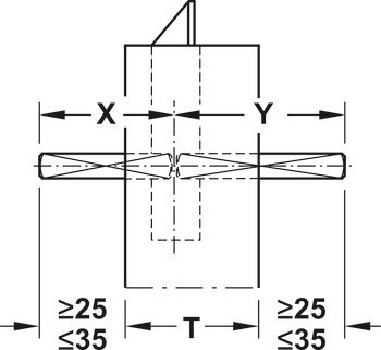
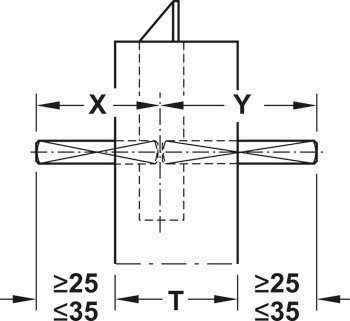
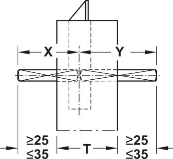
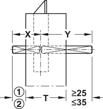
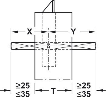
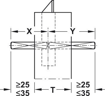
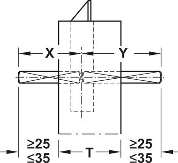
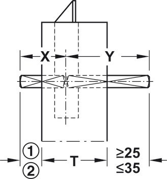
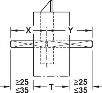
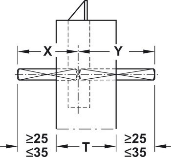
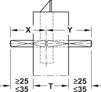
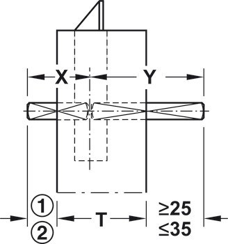
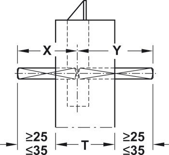
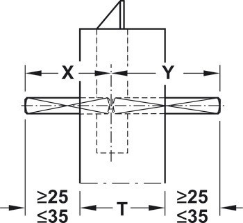
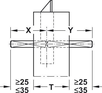
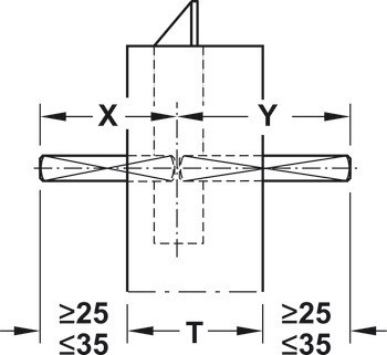
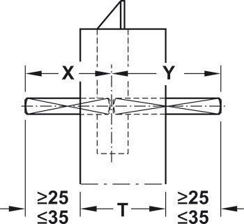
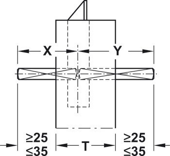
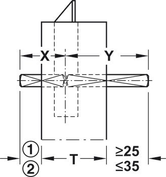
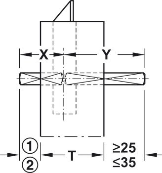
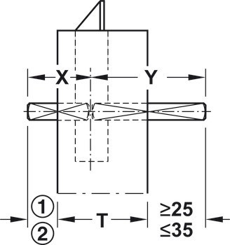
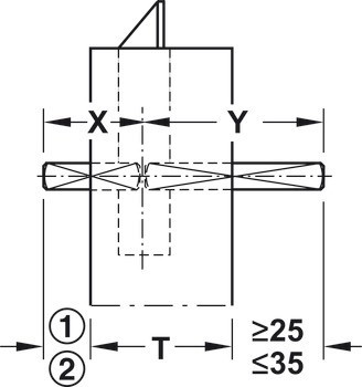
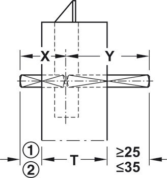
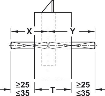
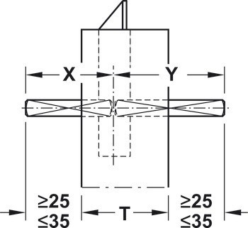
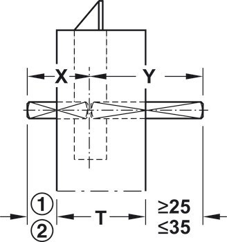
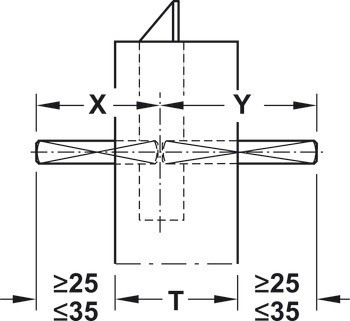
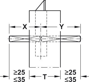
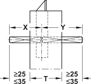
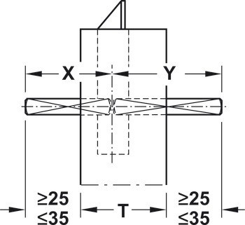
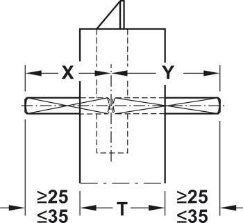
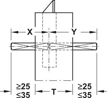
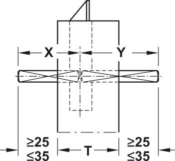
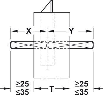
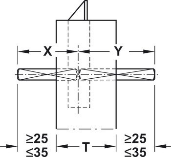
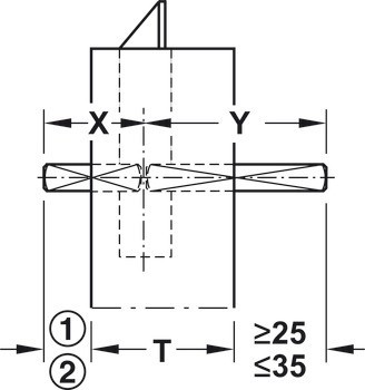
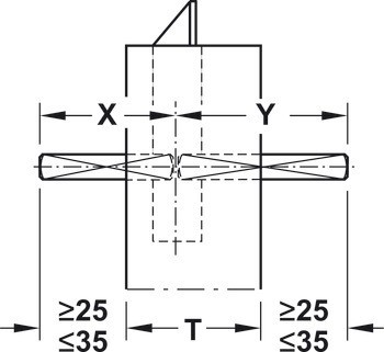
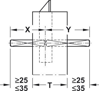
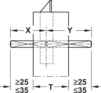
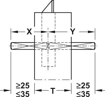
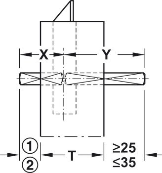
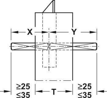
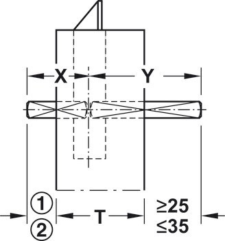
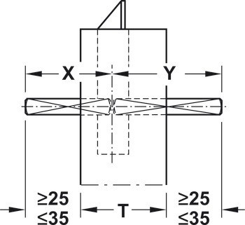
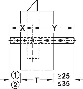
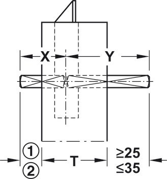
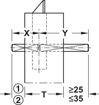
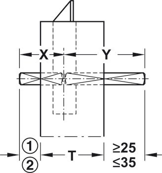
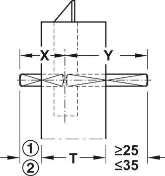
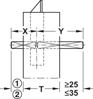
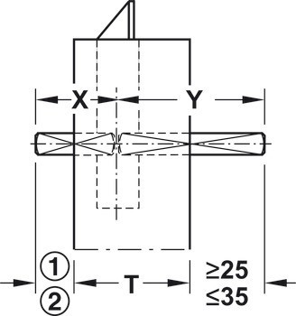
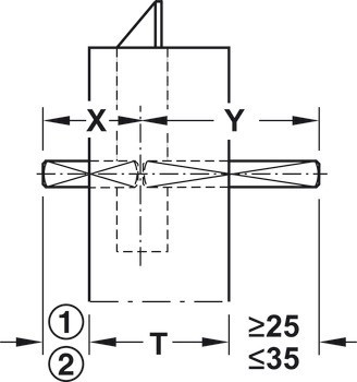
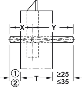
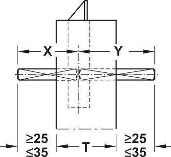
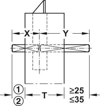
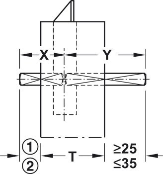
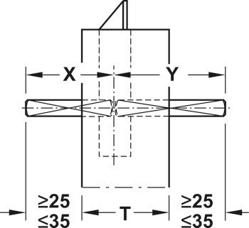
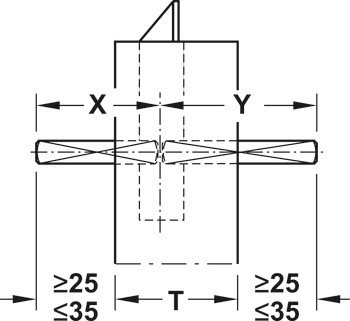
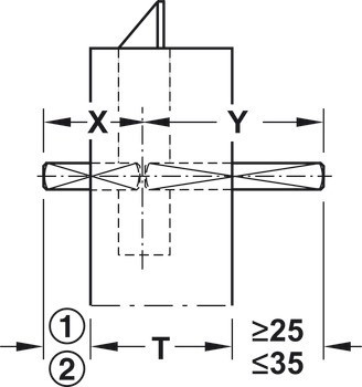
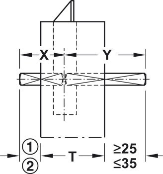
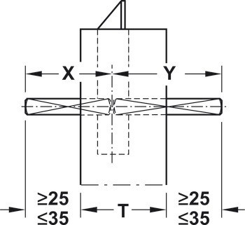
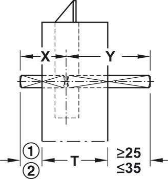
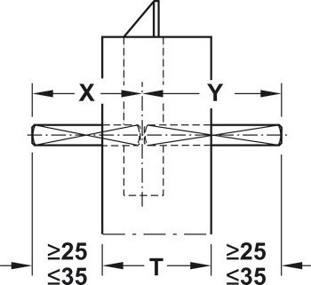
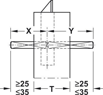
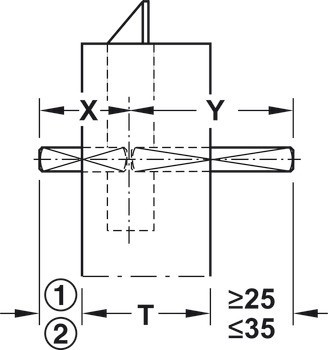
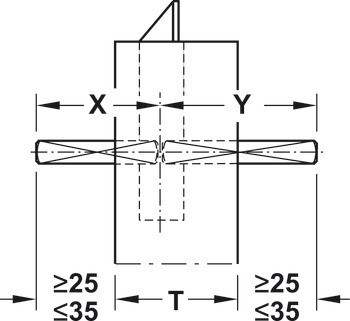
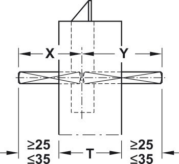
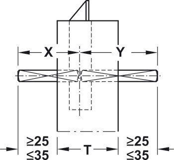
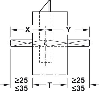
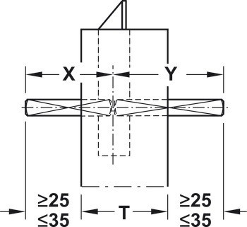
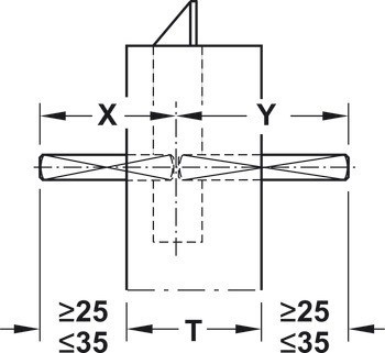
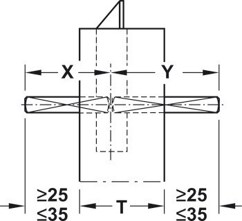
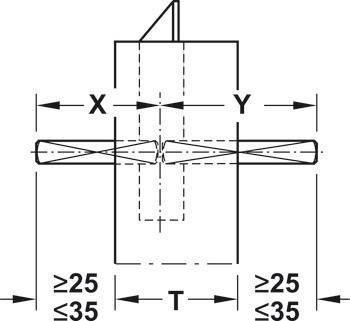
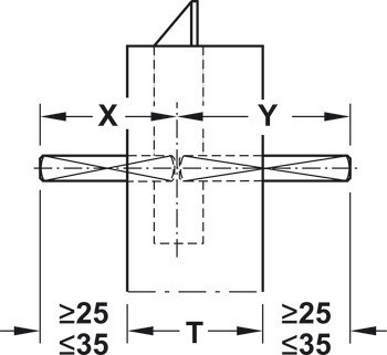
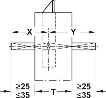
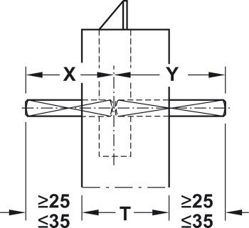
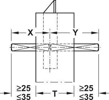
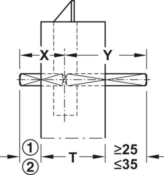
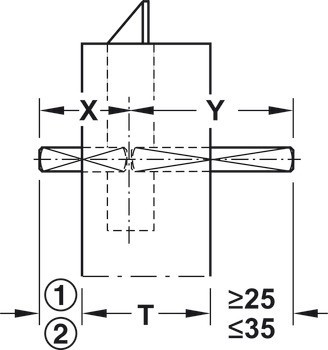
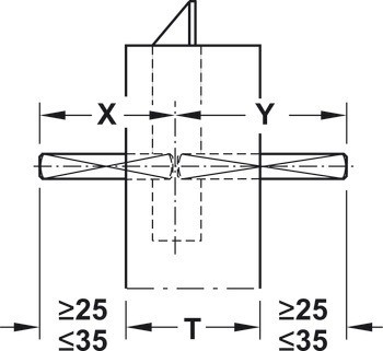
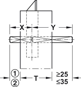
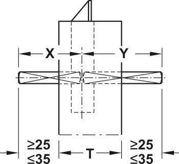
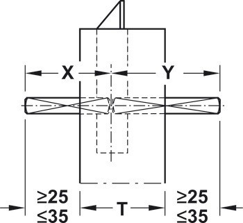
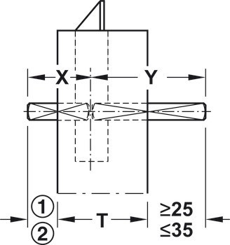
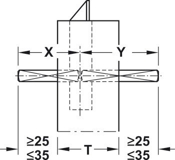
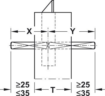
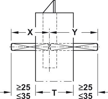
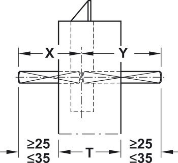
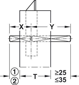
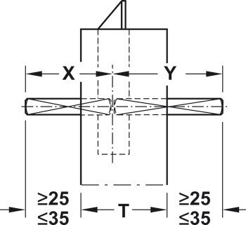
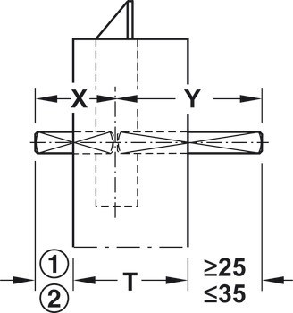
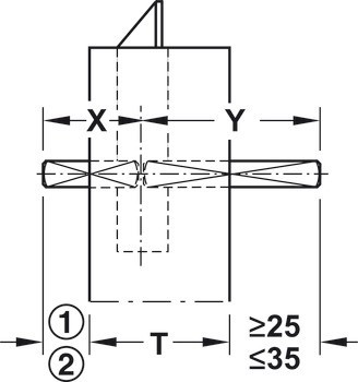
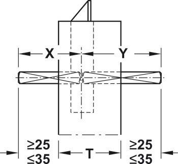
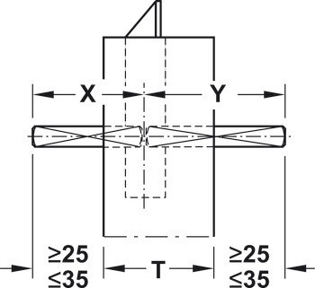
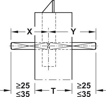
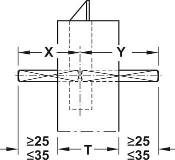
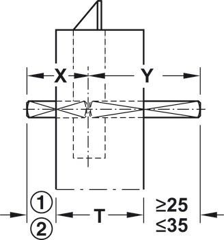
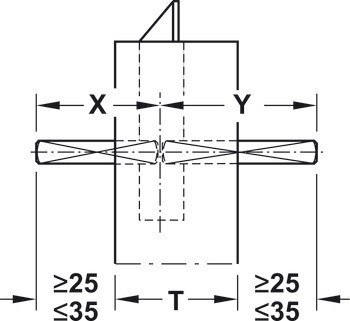
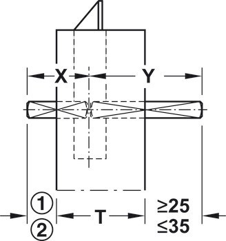
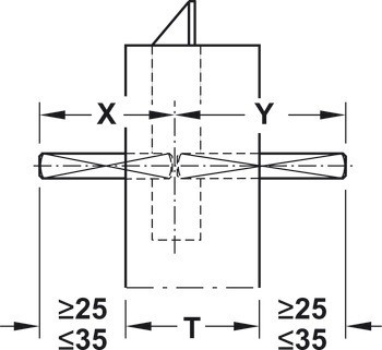
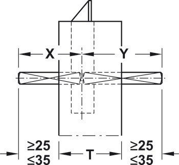
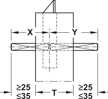
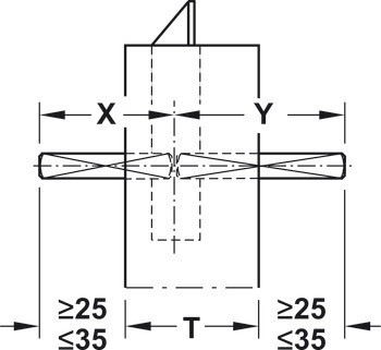
| Vnitřní délka | | 35,00 mm | 40,00 mm | 45,00 mm | 50,00 mm | 30,00 mm | 50.00 mm | 25,00 mm | 60,00 mm | 70,00 mm | 80,00 mm | 55,00 mm | 65,00 mm | 65.00 mm | 75,00 mm | 45.00 mm | 55.00 mm | 65.0 mm |
| Vnější délka | | 45,00 mm | 50,00 mm | 60,00 mm | 70,00 mm | 80,00 mm | 55,00 mm | 65,00 mm | 80.00 mm | 65.00 mm | 75,00 mm | 85,00 mm | 45.00 mm | 50.0 mm |