




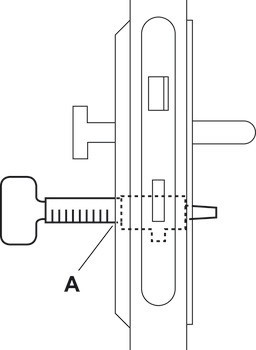
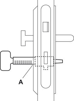
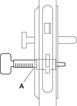
1 servisní klíč

| Verze | Kónický čtyřhranný čep od 6 - 10 mmčtyřhran pro zámky s PZ otvoremse stupnicí (35 - 70) pro měření délky vložky |
|---|---|
| Barva/povrchová úprava | Šedá |
| Vhodné pro | Kónický čtyřhranný čep od 6 - 10 mmčtyřhran pro zámky s PZ otvoremse stupnicí (35 - 70) pro měření délky vložky |
| Typ klíče | Servisní klíč |