






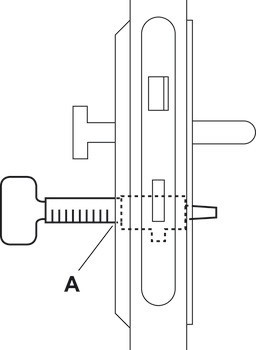
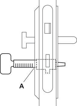
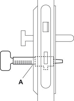
| Verze | | Čtyřhranný nástrčný klíč 6/7/8 mmimbus klíč 3 mmkónický čtyřhranný čep od 6 - 10 mmčtyřhran pro zámky s PZ otvoremotvírák na láhve | Čtyřhranný nástrčný klíč 6/7/8 mmimbus klíč 3 mmkónický čtyřhranný čep od 6–10 mmčtyřhran pro zámky s PZ otvorems oboustrannou stupnicí (22–75 mm a 25–75 mm) pro měření délky vložkyotvírák na láhve |
|---|---|
| Barva/povrchová úprava | Nikl |
| Materiál | | Ocel | Zinková slitina |
| Vhodné pro | | Čtvercový klíč 6/7/8 mmšestihranný klíč 3 mmzúžený čtvercový klíč 6 – 10 mmčtyřhran pro zámky s otvorem pro cylindrickou vložkuotvírák lahví | Čtvercový klíč 6/7/8 mmšestihranný klíč 3 mmzúžený čtvercový klíč 6 – 10 mmčtyřhran pro zámky s otvorem pro cylindrickou vložkus oboustranným měřítkem (22 – 75 mm a 25 – 75 mm) pro měření délky vložkyotvírák lahví |
| Typ klíče | Servisní klíč |