







| Rozsah použití | Otočné dveře ze dřeva nebo kovu, pro vnitřní použití |
|---|---|
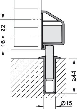
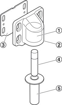
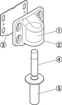
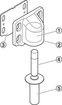
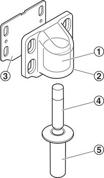
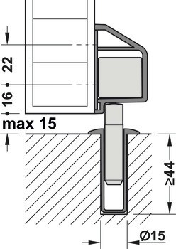
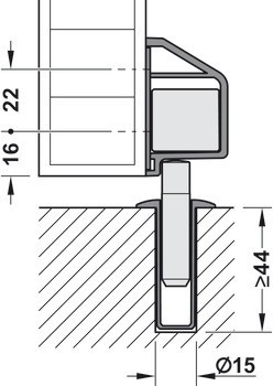
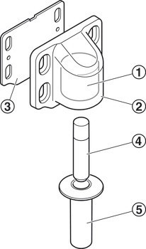
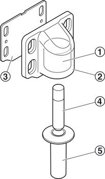
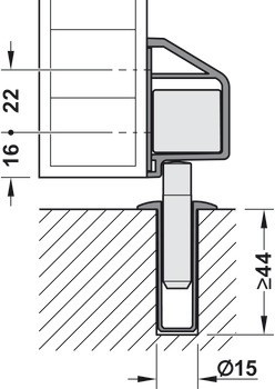
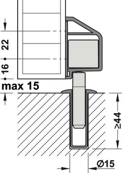
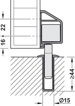
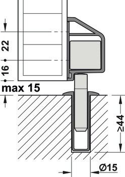
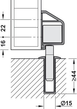
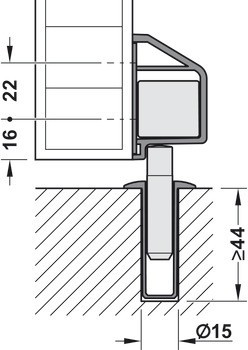
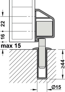
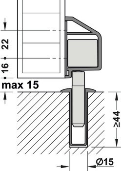
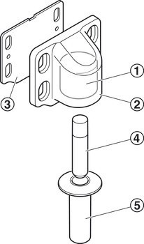
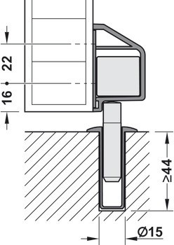
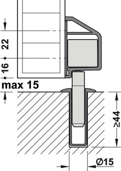
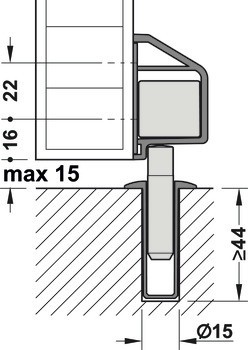
| Montáž | Pouzdro do podlahy: pro zápustnou montáž do podlahytělo: k přišroubování na dveřní křídlo |
| Materiál | Ocel, Hliník, nerez a plast, Neodym |
| Barva/povrchová úprava | | Průhledné | chrom, leštěné | chrom, kartáčováno |