




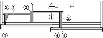
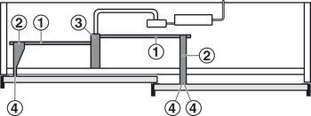
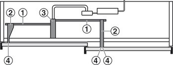
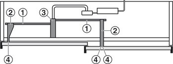
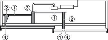
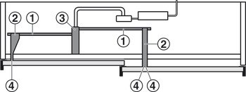
2 energetické řetězy
3 spojovací ramena s předmontovanými kabely





| Rozsah použití | | Pro 2 dveře | Pro 3 dveře | Pro 4 dveře |
|---|---|
| Montáž | K přišroubování za pojezdovou kolejnici a na dveřevzor vrtání dveří zůstává nezměněn |
| Pro šířku dveří | | 650 – 800 mm | 801 – 1,100 mm | 1101 – 1,600 mm | 801 – 1,040 mm | 1101 – 1,360 mm |
| Vhodné pro počet dveřních křídel | | 3,00 | 2,00 | 4.00 | 3.00 |