









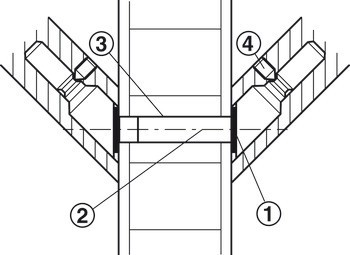
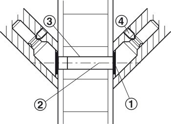
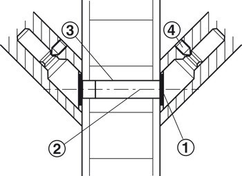
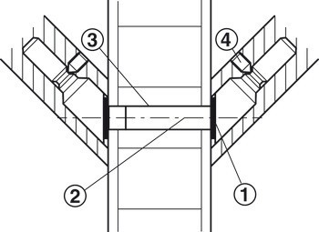
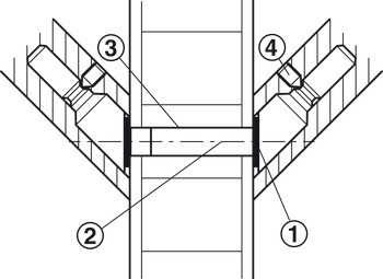
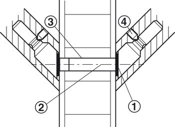
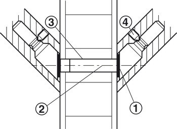
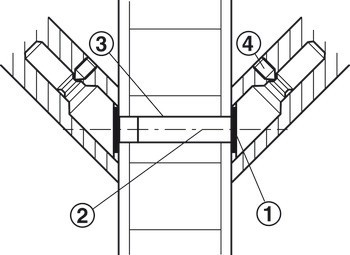
| Montáž | V párech |
|---|---|
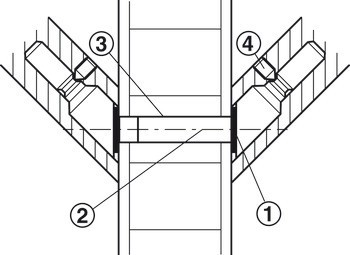
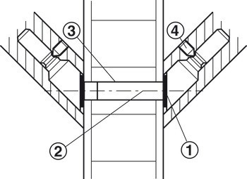
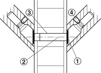
| Pro tloušťku dveří | | 35 – 50 mm | 45 – 70 mm | 60 – 85 mm |
| Průměr vrtaného otvoru | 11,50 mm | 11.50 mm |
| Vhodné pro | Startec dveřní klika, model PH 1121 a PH 1122 |
| Typ dveří | Dřevěné dveře|Kovové dveře|Plastové dveře |
| Pro tvar příruby | | pro přímé podpěry | pro šikmé podpěry (45°) |