



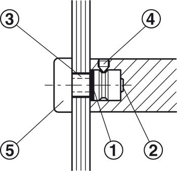
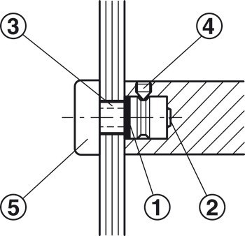
| Verze | | S krycí rozetou |
|---|---|
| Rozsah použití | | Pro model dveřních klik PH 1121 a PH 1122 |
| Montáž | | na jedné straně, viditelné z opačné strany |
| Průměr závitu | | M8 |
| Pro tloušťku dveří | | 8 – 12 mm |
| Průměr vrtaného otvoru | | 12,50 mm |
| Vhodné pro | | Startec dveřní kliky, model PH 1121 |
| Typ dveří | | Skleněné dveře |
| Pro tvar příruby | | pro přímé podpěry |