








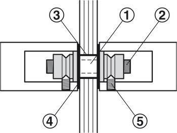
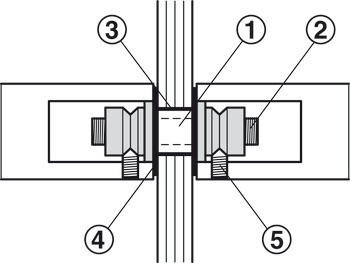
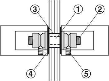
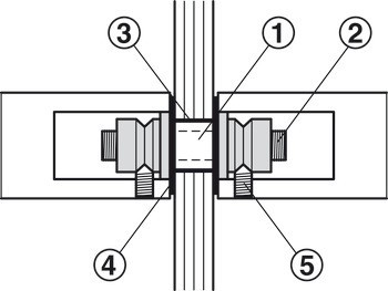
| Rozsah použití | Pro Startec dveřní kliky, model PH 2124, 2125, 2128, 2129 | Pro Startec dveřní kliku, model PH 2136 |
|---|---|
| Montáž | V párech |
| Průměr závitu | M8 |
| Pro tloušťku dveří | | 10 mm | 8 mm | 12 mm | 8 – 12 mm |
| Průměr vrtaného otvoru | 16,00 mm | 13,00 mm | 16.00 mm |
| Vhodné pro | Startec dveřní klika, model PH 2124, 2125, 2128, 2129 | Startec dveřní klika, model PH 2136 |
| Typ dveří | Skleněné dveře |
| Pro tvar příruby | pro přímé podpěry |