




1 pár bočnic zásuvky
1 pár korpusových lišt
1 sada čelního kování





| Verze | S kolečkovými výsuvy |
|---|---|
| Barva/povrchová úprava | Čistě bílá, RAL 9010, Prášková barva, Prášková barva |
| Rozsah použití | Pro zásuvky a výsuvy |
| Montáž | K přišroubování |
| Materiál | Ocel |
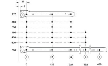
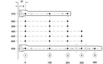
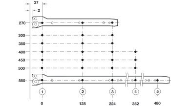
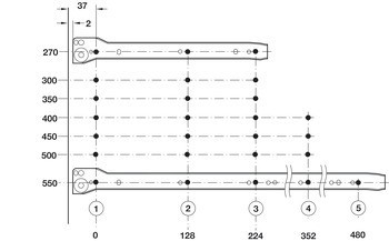
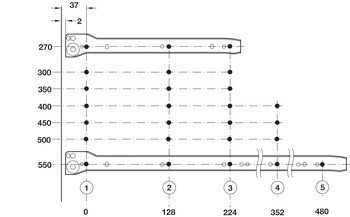
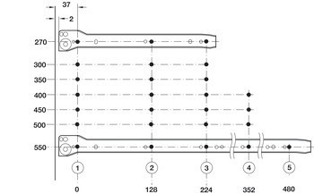
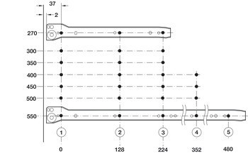
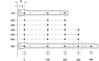
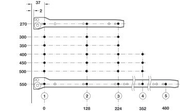
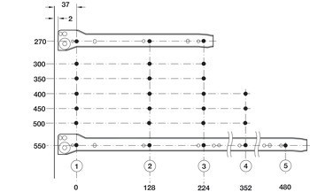
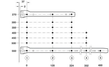
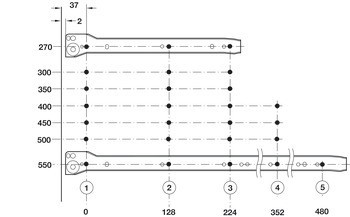
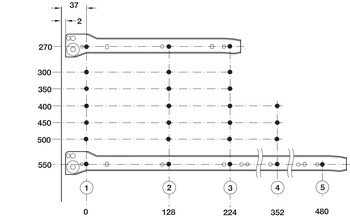
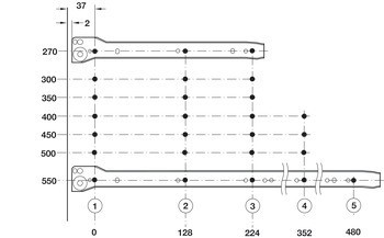
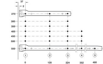
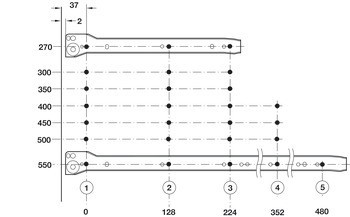
| Výška | 86,00 mm | 86.00 mm |
| Pro řadu vrtaných otvorů | Systém 32 |
| Nosnost na jeden pár | 25,00 kg | 25.00 kg |
| Výsuvná délka | | 266,00 mm | 442,00 mm | 356,00 mm | 216,00 mm | 399,00 mm | 316,00 mm | 186.00 mm |
| Nevysunutá délka | | 101,00 mm | 84,00 mm | 84.00 mm | 94,00 mm | 108,00 mm |
| Jmenovitá délka | | 300,00 mm | 400,00 mm | 500,00 mm | 450,00 mm | 350,00 mm | 550,00 mm | 270.00 mm |
| Comfort functions | Samozavírací |
| Způsob vysunutí | Částečný výsuv s mechanismem dotahu |
| Čelní kování | k přišroubování |