




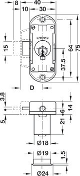
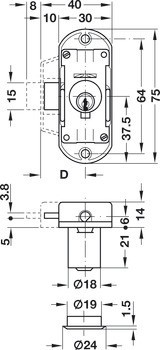
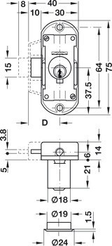
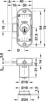
1 Trojcestný zámek
2 Klíče
1 Rozeta zámku
Bezpečnostní karta a zamykací plán se zamykacími systémy





| Verze | S pevnou vložkou s pinovými stavítky |
|---|---|
| Barva/povrchová úprava | Nikl, Matná |
| Rozsah použití | Pro dělené profilové tyče ⌀ 6 mm |
| Montáž | | Pravý | Levé |
| Materiál | Tělo zámku: zinková slitinavložka: mosaz |
| Uzamykací série | | Individuální uzávěr | H1 |
| Tvar vložky | kruhová vložka |
| Délka vložky | 21,00 mm | 21.00 mm |
| Průměr vložky | 18,00 mm | 18.00 mm |
| Typ uzávěru | s 5 pinovými stavítky |
| Zamykací systém | Standardní profil |
| Typ uzavření | | Individuální uzávěr | Společný uzávěr |
| Povrchová úprava | Matná |
| Backset | | 15,00 mm | 25,00 mm | 25.00 mm | 15.00 mm |
| Montáž | | pravé | levé |