




1 odpružená hřídel s vloženou pružinou a lankem, postranní koncové krytky a ložiska k přišroubování
1 napínací kolečko s ložiskem k přišroubování
1 vychylovací jednotka
2 závěsná lanka (1 pro plastové nebo dřevěné roletkové pancíře a 1 pro hliníkové roletkové pancíře)
1 montážní návod


| Barva/povrchová úprava | Ložisko k přišroubování: Pozink |
|---|---|
| Rozsah použití | Roletky vedené po zadním panelu se svislým směrem posuvu, Konstrukce skříně s vnitřní policí |
| Montáž | k přišroubování na vnitřní polici |
| Materiál | Odpružená hřídel z hliníku, pružina a ložisko k přišroubování z oceli, lanko, postranní koncové krytky, napínací kolečko, napínání a závěsné lanko z plastu |
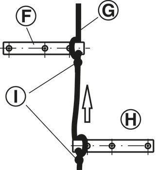
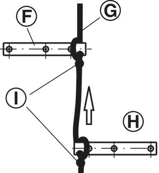
| Poznámka k montáži | Montáž předem připravená k použití na vnitřní polici je možná.Přišroubujte závěsné lanko k poslední lamele nad úchytkový profil. |
| Pro výšku korpusu | | ≤1600 mm | ≤2100 mm |
| Pro šířku roletkového pancíře | ≤1200 mm |
| Hmotnost roletkového pancíře | | ≤10 kg | ≤7 kg |