









| Verze | | Soft | ZK | Basic |
|---|---|
| Barva/povrchová úprava | | pozlacené | leštěné, pozlacené | matný, nikl | leštěné, chrom |
| Rozsah použití | Pro dřevěné zárubně, pro falcové dřevěné vnitřní dveře |
| Materiál | Ocel |
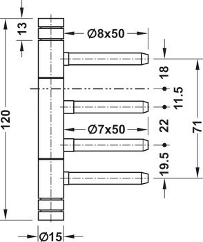
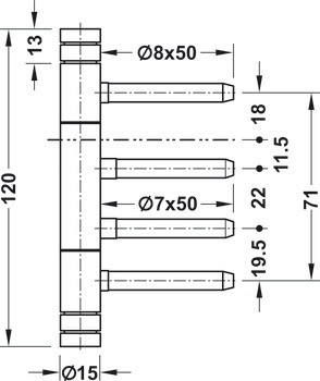
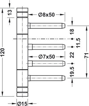
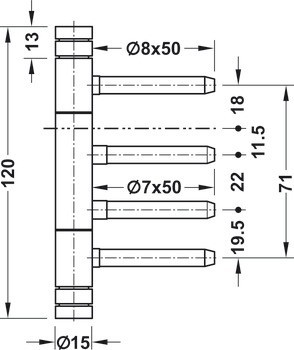
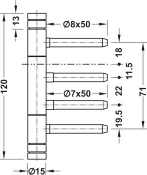
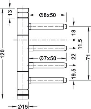
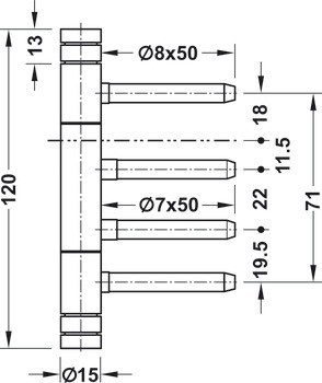
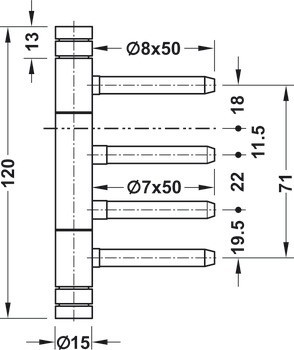
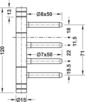
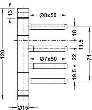
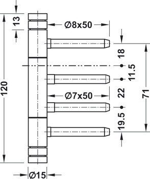
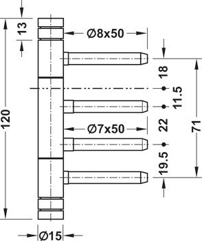
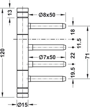
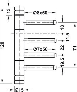
| Model | V 4426 WF |
| Modely | V 4426 WF |
| Montáž | Pro použití na DIN levé a DIN pravé straně |
| Průměr patice | 15,00 mm | 15.00 mm |
| Pro průměr vrtaného otvoru | Část dveřního křídla 6,8 mm|Část zárubně 7,2 mm |
| Rozsah naložení | ≥12 mm |
| Typ ložiska | Kluzné ložisko, bezúdržbové |
| Pro typ zárubně | Dřevěný rám |
| Max. hmotnost dveří pro 2 závěsy | 70,00 kg | 70.00 kg |
| Pro typ dveří | Dřevěné dveřní křídlo |
| Délka patice | 94,00 mm | 94.00 mm |